地址:上海嘉定区南翔工业园一区
电话:021-66296911 66296922
售后电话:021-66298865
传真:021-66296828
邮箱:lg@lgpv.cn
Q Q:
产品展示PRODUCTS
XWJ型卧式无堵塞纸浆泵产品概述:
XWJ型卧式无堵塞纸浆泵是一种新型、节能型纸浆泵,经实际使用,具有高效、无或少泄露、抗堵塞性好、运行平稳、可靠性高、结构紧凑等特点。主要体现在以下几个方面:采用半开或全开式叶轮、耐磨板与叶轮前侧间隙可调、轴封主要采用机械密封并选用高精度轴承(D级精度)及优质轴材料等,因此XWJ型纸浆泵是您理想的“好帮手",同时您的成功也是我们始终的追求。
一、XWJ型卧式无堵塞纸浆泵型号意义:
二、XWJ型卧式无堵塞纸浆泵结构介绍:
1.XWJ型卧式无堵塞纸浆泵为单级单吸悬臂式结构,主要φ泵体、叶轮、泵盖、耐磨板及悬架部件组成;
2.从电机端看,电机为顺时针方向旋转,且泵为轴向吸入,径向(φ间)排出;
3.泵为后开门结构,维修时可不必拆卸进出管路;
4.泵轴由两个高精度滚动轴承支承,采用稀油润滑(20撑机油);
5.轴封采用机械密封或填料两种型式;
6.耐磨板与叶轮前侧间隙可通过调节螺杆进行调节,以保持叶轮连续运行的高效性;
7.泵和电机由柱销联轴器直联传动。
该泵的各过流部件材质为HT200、QT450-10、ZG35或ZG1Cr18Ni9Ti,轴材质为40Cr或3Cr13。
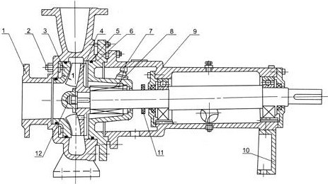
三、XWJ型卧式无堵塞纸浆泵结构图:
|
|
1 |
泵体 |
7 |
软管接头 |
|
2 |
调节螺杆 |
8 |
填料或机械密封 |
|
|
3 |
耐磨板 |
9 |
悬架部件 |
|
|
4 |
叶轮 |
10 |
支架 |
|
|
5 |
O形圈 |
11 |
挡水圈 |
|
|
6 |
泵盖 |
12 |
叶轮螺母 |
四、XWJ型卧式无堵塞纸浆泵产品材料:
该泵的各过流部件材质为HT200、QT450-10、ZG35或ZG1Cr18NI9Ti。
轴材质为40CR或3Cr13。
五、XWJ型卧式无堵塞纸浆泵性能范围:
流量:20~400m3/h 转速:1450r/min
扬程:10~32m 功率:1.5~55Kw
六、XWJ型卧式无堵塞纸浆泵产品用途:
XWJ型卧式无堵塞纸浆泵可广泛用于轻工、造纸行业中温度低于110℃,浓度低于6%浆料的输送,同时也可用于工业和城市给水、排水等场合。

